近日,上海市静安区人民法院公示的两起刑事案件判决书,牵出国际奢侈品巨头LVMH中国公司的巨额贪腐案。
据上海市静安区人民法院案号为“(2024)沪0106刑初1037号”和“(2024)沪0106刑初1158号”的刑事判决书显示,三名被告苏某、吴某、胡某因对“某A有限公司”进行职务侵占,分别处以罚金并判有期徒刑两年九个月、两年三个月、两年,均适用缓刑。

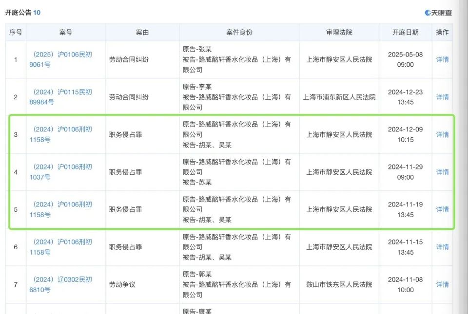
综合天眼查信息,“(2024)沪0106刑初1037号”和“(2024)沪0106刑初1158号”涉及的“某A有限公司”,正是路威酩轩香水化妆品(上海)有限公司(后简称“路威酩轩香化”)。
官方资料显示,路威酩轩香化是法国奢侈品具体LVMH集团于2000年成立,主要负责集团旗下部分香水化妆品品牌在中国的销售,包括迪奥、娇兰、纪梵希、贝玲妃、玫珂菲、凯卓、帕尔玛之水以及馥蕾诗等。天眼查工商年报显示,该公司2023年员工人数为1204人。

根据判决书所述事实,在2015年至2023年间,路威酩轩香化培训部高级总监应某,和培训部经理崔某,通过虚构会务费、咨询服务费、翻译服务费等,伙同三名被告及其经营公司,从路威酩轩香化套取钱款。涉案金额超过2100万元。
上述两则案件判决书落款日期分别为2024年11月29日和2024年12月9日。涉案三名被告均已判刑,而两名路威酩轩香化内部人员另案处理。
中国一直是LVMH集团香化业务的重要市场。LVMH集团2024年财报显示,截至2024年12月31日,LVMH集团香化业务板块销售额同比增长4%达84.18亿欧元,中国所在的亚洲地区(除日本外)贡献占比达30%。
如今,LVMH集团和其他奢侈品公司一样在中国正面临业绩挑战。截至2024年12月31日,LVMH集团亚洲地区(不包括日本)销售额在第四季度同比下降了10%,全年则下降了11%。
2月24日,时代财经就本案细节、LVMH中国公司内控等问题,联系集团中国区域媒体联络人。对方表示,目前对此事“不予置评”,会将情况报至巴黎总部。
套取巨额钱款,用于旅游、子女培训
涉案员工的职务侵占行为在路威酩轩香化公司已长达近10年。
案号为“(2024)沪0106刑初1037号”判决显示,在2019年至2023年间,路威酩轩香化培训经理崔某经该公司采购部员工介绍,与苏某等人取得联系,要求苏某所经营公司通过虚构翻译业务的方式,从路威酩轩香化套取钱款。被告苏某经营公司从中分得25%至40%不等的“服务费”,剩余款项则转入崔某指定的个人账户。
经审计,2019年4月22日至2023年2月15日期间,路威酩轩香化公司支付苏某经营公司相关虚假业务订单金额高达约1165.74万元。其中约823.50万元进了路威酩轩香化公司培训经理崔某提供的个人账户。
另据案号为“(2024)沪0106刑初1158号”的判决,2015年至2023年间,路威酩轩香化公司高级总监应某要求该案被告吴某通过虚构会务费、咨询服务费的方式,从路威酩轩香化公司套取钱款供应某等人使用,具体操作由路威酩轩香化公司培训部经理崔某与胡某进行对接。
经审计,2015年2月12日至2023年2月15日期间,路威酩轩香化公司支付被告经营公司虚假业务订单金额达944.27万元。其中,被告经营公司代为支付应某和崔某等个人消费累计金额达866.46万元,这包括为应某、崔某代付的旅游费用、子女培训费用等。
消费巨头掀反腐“风暴”
近两年,多家外资消费企业相继曝出反腐事件。
2024年6月,有自称是阿迪达斯中国区员工在社交平台发布举报信,称阿迪达斯大中华区市场部高级副总裁存在职场霸凌、收受供应商现金及房地产实物回扣等问题。6月下旬,阿迪达斯中国向媒体确认部分举报属实,涉及的一名高管和一名市场部员工已做离职处理。
彼时,阿迪达斯相关负责人表示,“阿迪达斯对不合规的行为持零容忍的态度,并致力于在中国市场塑造价值观引领的制胜文化。”
对公司内部腐败摆出“零容忍”态度的也不仅仅是外资消费企业。
今年2月,中国本土运动鞋服龙头安踏集团亦发布了包括10家企业在内的首批“永不合作主体清单”。
安踏集团还公布,过去一年,通过内部审计、监察、稽核等相关措施,因严重舞弊触犯集团红线被辞退的员工58人,因涉嫌违法犯罪移交司法机关处理的内外部人员29人,违法犯罪金额1600万元,直接涉案业务金额近亿元,集团依据《供应商廉洁合规管理办法》、《诚信廉洁协议》等规范处罚供应商及合作伙伴41家。
来源:时代财经




