近日,SMTOWN的国内公司爱思爱梦开通官博,首条微博提到周觅、黄仁俊、钟辰乐、WayV、宁艺卓多名艺人,引发网友关注。
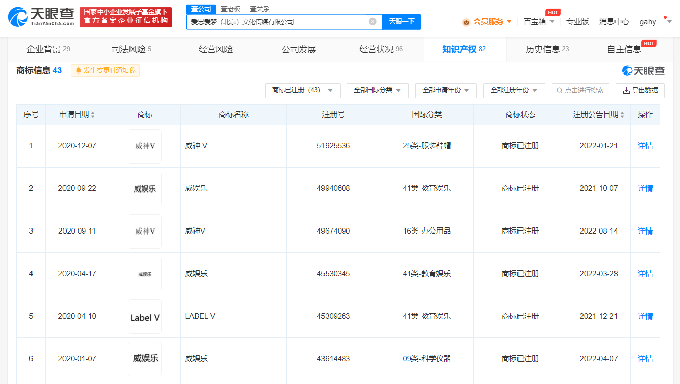
天眼查App显示,爱思爱梦关联公司爱思爱梦(北京)文化传媒有限公司成立于2015年10月,法定代表人为李宇龙,注册资本500万美元,经营范围包括演出经纪业务;销售食品;出版物批发;出版物零售;餐饮服务;音乐作品、美术作品的创作等,由DREAM MAKER ENTERTAINMENT LIMITED全资持股。知识产权信息显示,该公司已成功注册多枚“威神 V”“LABEL V”商标,国际分类包括教育娱乐、服装鞋帽、广告销售等。
值得一提的是,除爱思爱梦(北京)文化传媒有限公司外,该公司股东DREAM MAKER ENTERTAINMENT LIMITED还全资持股一家爱司爱睦(上海)文化传媒有限公司,其同样成立于2015年10月,注册资本350万美元,法定代表人同为李宇龙。





