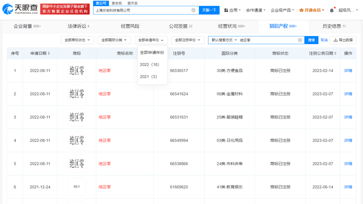
据媒体报道,米哈游最新力作《绝区零》将于7月4日正式上线,截至目前,该游戏全球预约人数已突破3000万。
天眼查知识产权信息显示,米哈游全资子公司上海交宅科技有限公司已分别于2021年、2022年申请注册多枚“绝区零”商标,国际分类涉及教育娱乐、广告销售、网站服务等,当前商标状态均为已注册。

经观App
理性 建设性原创天眼快报
2024-04-24 22:11:05

据媒体报道,米哈游最新力作《绝区零》将于7月4日正式上线,截至目前,该游戏全球预约人数已突破3000万。
天眼查知识产权信息显示,米哈游全资子公司上海交宅科技有限公司已分别于2021年、2022年申请注册多枚“绝区零”商标,国际分类涉及教育娱乐、广告销售、网站服务等,当前商标状态均为已注册。

天眼快报
市场动态,天眼洞察,投资资讯,及时掌握相关推荐
免责声明:本文观点仅代表作者本人,供参考、交流,不构成任何建议。